汇源果汁集团,主动曝光内部矛盾,汇源果汁深陷“资本局中局”
(文/霍东阳 编辑/张广凯)
国民果汁汇源的内部矛盾正在公开化。
8月9日,北京汇源在其官方公众号发布《致全体股东及转股债权人的公开信》称,股东诸暨文盛汇自有资金投资有限公司(下称“诸暨文盛汇”)提议于8月11日召开2025年第三次临时股东会。在公开信中,同步公开的还有北京汇源的内部矛盾。

承诺注资却成为“空头支票”
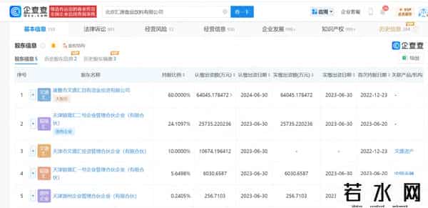
北京汇源称诸暨文盛汇的“不当操作”包括出资不实、滥用控制权等方面。
据公开信,诸暨文盛汇实缴出资仅占北京汇源注册资本的22.8%,其承诺的投资总额中尚有8.5亿未到账。在逾期的超一年的时间里,北京汇源催缴11次仍未实缴。而其目前实际支付的投资款除又管理人支取少量用于清偿破产费用和小额债务外,其余6.47亿余元资金(含利息和履约金)全部由诸暨文盛汇直接管控,分文未投入企业日常经营。
诸暨文盛汇得以直接管控资金是基于在承诺投资16亿元的前提,其取得了公司董事会及监事会绝对多席位的提名权,实现了对公司经营管理的全面控制。但诸暨文盛汇并未按约定完成投资义务,北京汇源已对诸暨文盛汇及上海文盛资产管理股份有限公司提起诉讼,该诉讼已被法院受理。
不过,北京汇源也表示,在诸暨文盛汇大比例控制公司董事会及监事会、并提名总经理的情形下,将有机会操纵公司撤回诉讼,以掩盖其出资不实的事实,并逃避其对公司应承担的违约及赔偿责任的目的。
对此,上海国瓴律师事务所高慧律师表示,根据《公司法》第四十九条,股东完成出资需满足财产交付与权属转移双重条件。具体到货币出资,需将资金足额存入公司账户并完成权属转移,且资金需实际用于公司经营。
“若资金虽然在公司账户但被股东实质支配,可能构成‘滥用控制权’,若通过协议控制资金流行,也可能被认定为‘其他抽逃行为’。”高慧律师也补充道,“资金需用于公司经营,抽逃可能构成刑事犯罪。”
除了扭曲了公司的管理权,北京汇源还指出,诸暨文盛汇的部分提案也可能直接影响各位转股债权人的利益。在8月11日的临时股东会上,诸暨文盛汇提议以北京汇源资本公积来弥补亏损。
但截至目前,尚有大多数债权人暂未受领北京汇源股权(资本公积半数以上存在不确定性),若此时以资本公积弥补亏损等于逼迫相关债权人被动确认债转股行为,变相剥夺了债权人的选择权。
高慧律师认为,诸暨文盛汇提议的“以资本公积弥补亏损”在合法性与合理性层面均存在重大争议,其核心矛盾在于资本公积的法律属性、程序合规性及对债权人权益的实质影响。
根据2024年新《公司法》第二百一十四条及财政部《关于公司法、外商投资法施行后有关财务处理问题的通知》(财资〔2025〕101号),资本公积补亏需满足三重条件:
1. 顺序优先性:必须先使用任意公积金和法定公积金,仍不足时方可动用资本公积;
2. 来源合法性:仅能使用“股东投入形成的金额确定、由全体股东共享且未限定用途的资本公积金”,且需剔除特定股东专享或附带条件的部分;
3. 程序合规性:需经股东会决议并在30日内通知债权人,同时在财务报表中单独披露。
高慧律师向观察者网表示,目前无公开信息表明北京汇源已优先使用任意公积金和法定公积金,若未履行这一前置程序,直接动用资本公积金补亏将构成对法律强制性规定的违反。
“北京汇源资本公积中约有55.3亿元来自债转股,但目前尚有17名债权人未受领股权,根据财政部通知,‘属于附带条件导致增加的资本公积金数额可能出现变动的,需待数额固定后才能弥补亏损’,而汇源的资本公积中存在大量‘未固定’部分,此时补亏涉嫌违反‘金额确定’的规定。”
同时,在程序上,若文盛汇通过协议控制董事会直接推动补亏方案,而未召开股东会或未获得其他股东,特别是债转股股东的有效表决,可能违反“通知债权人或向社会公告”的程序要求以及构成《公司法》规定的“决议可撤销事由”。
有业内人士认为,在诸暨文盛汇全面掌控公司的情况下,北京汇源的公开信是一步“险棋”,呼吁更多的股东和转股债权人站出来有机会改变其被动的局面。
但高慧律师表示,某种程度上可能改变被动局面,但也存在很大的现实挑战,股东与债权人需在临时股东会前达成行动共识,通过法律程度和舆论压力迫使诸暨文盛汇妥协。
16亿注资争议悬而未决
北京汇源“改姓”诸暨文盛汇自2022年被法院裁定重整程序之后。
诸暨文盛汇作为上海文盛资产管理股份有限公司(下称“文盛资产”)参与重整计划的持股平台,“斥重金”斩获北京汇源60%的股权并开始控股拥有原汇源果汁的所有商标及品牌所有权、销售渠道、及部分生产设备。北京汇源则将生产外包给汇源集团(在汇源果汁取消上市地位后,果园种植基地及大部分生产线的拥有权被划给汇源集团)。


文盛资产是国内知名的民营不良资产管理机构,前身为2003年设立的浙江文化控股,主要聚焦在不良资产处理、困境企业重组、困境地产重组三大领域。
据文盛资产官网,其背后的资方包括中国东方资产、中金公司、杭州工商信托、CaVal Investor、鼎晖投资、美国黑石集团、广发证券、广东民营投资股份有限公司。此外,在2020年文盛资产与CaVal Investor组建上海嘉沃文盛股权投资合伙企业,并申请了QFLP(合格境外有限合伙人);2021年,文盛资产与美国华平投资共同成立“文盛特殊机会资产管理公司”,该平台拟投资总额6亿美元。
除了汇源果汁,昔日的“女装第一股”拉夏贝尔的背后也有文盛资产的身影。2021年3月,在上海其锦企业管理合伙企业(有限合伙)(下称“上海其锦”)和文盛资产收购了拉夏贝尔11.24%的股权后,文盛资产及其一致行动人上海其锦共持有拉夏贝尔19.50%的股份,成为其第一大股东。
根据拉夏贝尔总裁张滢的说法,大股东文盛资产在债务和资金方面给公司帮助,经营管理方面给了管理团队足够的自主权。这一定程度上是因为文盛资产缺乏品牌管理经验,拉夏贝尔在其控股期间并未实现扭亏,最终以退出控股完成其资产角色的改变。
今年7月,拉夏贝尔的实际控制人变更为王国良,杭州金穗丰华企业管理合伙企业成为控股股东,持股65%,文盛资产目前的持股比例降至3.94%。
但文盛资产对汇源的野心更大,不仅支持债务厘清的问题,还包含着后续的生产经营的强化。
据文盛资产曾披露的细节,针对汇源80亿的债务问题,文盛资产给出了三种化债方案:职工债权和税款债权以现金方式一次性全额清偿;有财产担保债权以留债方式全额清偿;100万元以下的小额普通债权以现金方式一次性清偿,超过100万元的普通债权以债转股方式全额清偿。
在文盛资产计划投入的16亿资金中,只有一小部分支付汇源破产费用和偿还小额债权(有媒体报道称,约为1亿元),90%以上的资金将用于汇源的生产经营升级和强化。
根据重整计划,文盛资产向北京汇源的增资分3期,期限为三年。三期的增资分别为7.5亿、3.8亿和4.7亿,截至目前仅有首期到账。
有媒体报道称,对资金究竟是注入注册资本还是资本公积比例(北京汇源认为7.5亿首期款中一部分是注册资本,一部分是资本公积,但文盛资产并不同意),双方争执至今没有定论,这也可能是后期款项未能到账的主要原因。
高慧律师表示,若7.5亿元首期款计入注册资本,将增强北京汇源偿债能力的法定基础,并直接提升债权人受偿保障,“若文盛资产足额注资,债权人可通过破产程序优先受偿法定资本部分”;若计入资本公积虽然可以提升汇源净资产增加,但法定偿债能力未获得实质性增强,且因资本公积归属全体股东,文盛汇若单独控制该资金,可能侵犯其他股东或债权人利益。
汇源上市计划搁浅
值得注意的是,文盛资产还曾表示,力争在三到五年内带领汇源实现A股上市。
就汇源的发展态势来看,上市很有可能还是通过引入上市公司投资人,进而实现借壳上市。
这个“壳”差点就成为了国中水务(600187.SH),这个主要从事污水处理和环保技术的企业希望通过控制北京汇源来实现转型。
从2022年底起,国中水务已经多次间接持有北京汇源股权。据其2024年三季度报,其已经持有诸暨文盛汇36.486%股权,间接持有北京汇源21.8916%股权。
通过间接投资北京汇源,国中水务已经获得了显著收益。据国中水务年报,2022-2024年,国中水务的营业收入分别为2.90亿、2.26亿和1.79亿,较同期分别下降24.71%、21.92%和20.73%;归母净利润分别为-1.16亿、3035万和4357万;分别同比增长-27.82%、126.22%和43.58%。


国中水务还想通过收购诸暨文盛汇不低于51%的股权成为其控股股东及北京汇源的间接控股股东。不过,4月23日,国中水务对外宣布终止对汇源果汁的收购事项,公告表示,交易终止主要因为截至公告日,交易标的的股权仍处在冻结状态,存在限制转让的情形。
文盛资产被冻结的幕后推手是其股东粤民投(持股4.96%):粤民投慧桥捌号(深圳)和慧桥叁号(深圳)以侵权责任纠纷为由,向深圳市福田区法院提起诉讼保全,冻结了上海邕睿所持诸暨文盛汇52.47%股权。
侵权责任纠纷也与国中水务和北京汇源密切相关。粤民投认为,文盛资产通过子公司向国中水务转让诸暨文盛汇的股权所获得的资金流向不明,涉嫌转移资产或违规使用,并要求文盛资产公开资金用途。
有媒体认为,北京汇源与文盛资产矛盾的公开化也是粤民冻结资产导致国中水务收购终止的连锁反应。
香颂资本执行董事沈萌在采访中指出,文盛资产运作北京汇源重组本身就有资本玩家借重组谋取超额回报的意味,这种运作模式一旦某个环节条件无法达成就会引发各方矛盾。
这场关乎国民品牌命运的博弈,或许才刚刚进入高潮。
本文标题:汇源果汁集团,主动曝光内部矛盾,汇源果汁深陷“资本局中局”
本文链接:http://www.hniuzsjy.cn/hangye/165.html
声明:本站所有文章资源内容,如无特殊说明或标注,均为采集网络资源。如若本站内容侵犯了原著者的合法权益,可联系本站删除。
